徕卡再度合作!小米13 Ultra将搭载移动影像迄今为止最完美的Summicron镜头
【本站】4月12日消息,小米官方今日宣布,将于4月18日发布最新款移动影像旗舰——小米13 Ultra,该新品搭载了徕卡Summicron镜头,被称为移动影像迄今为止最完美。小米表示,去年7月,我们正式和徕卡启动影像战略合作,开启移动影像新时代。携原汁原味徕卡影调
更新日期:2022-07-15
来源:Win7旗舰版
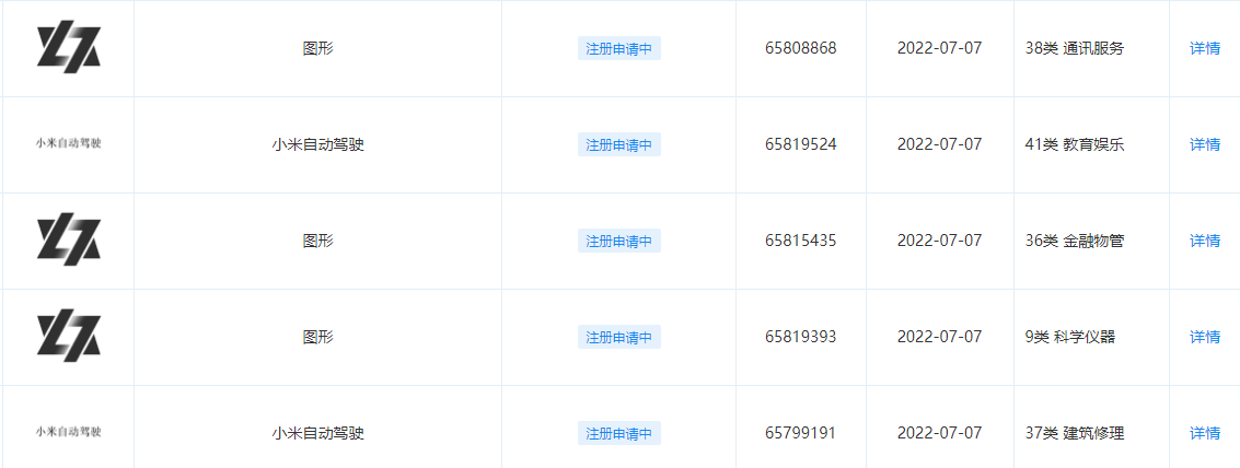
小编 7 月 15 日消息,近日,小米科技有限责任公司申请注册多个“小米自动驾驶”“XIAOMI PILOT”商标,国际分类涉及运输工具、科学仪器、机械设备、广告销售等,当前商标进度均为申请中。


值得一提的是,与上述商标同批次申请的还有一款图形商标,国际分类涉及金融物管、科学仪器、网站服务,尚不清楚该图形是否与小米自动驾驶有关。


小编曾报道,上周有车身贴有“小米自动驾驶测试”车辆的图片引发关注,图片显示其车顶或配有激光雷达。而针对“小米自动驾驶车路试”传闻,小米相关人士回应称,“这是我们在测试自动驾驶技术,不是我们的车。”

2021 年 3 月,雷军在小米春季新品发布会上宣布,小米正式进军智能电动汽车行业。2021 年 9 月,小米汽车有限公司正式成立,注册资本 100 亿元。2021 年 12 月份,小米控股的生态链公司智米科技下场造车。2022 年 4 月,小米汽车位于北京经济技术开发区亦庄新城的造车基地开工建设。
自动驾驶领域,小米集团先后给自动驾驶公司里的纵目科技、禾赛科技、爱泊车等投资,后面又收购了深动科技,这让小米集团积攒下不少自动驾驶的领域基础。目前,小米已获得“图像处理方法和装置、车辆、可读存储介质”、“自动超车方法、装置、车辆、存储介质及芯片”等专利。
在今年 3 月小米公布全年业绩时,小米在财报中称目前造车进展超预期。同时,小米汽车业务研发团队规模已超过 1000 人,未来将继续在自动驾驶、智能座舱等核心领域拓展研发。
按照规划,小米首款车型预计在 2024 年正式量产。
《小米回应“自动驾驶车路试”:在测试自动驾驶技术,不是我们的车》
徕卡再度合作!小米13 Ultra将搭载移动影像迄今为止最完美的Summicron镜头
【本站】4月12日消息,小米官方今日宣布,将于4月18日发布最新款移动影像旗舰——小米13 Ultra,该新品搭载了徕卡Summicron镜头,被称为移动影像迄今为止最完美。小米表示,去年7月,我们正式和徕卡启动影像战略合作,开启移动影像新时代。携原汁原味徕卡影调
小米13 Ultra:业界首款配备1英寸可变光圈影像旗舰
【本站】4月12日消息,据博主数码闲聊站透露,小米13 Ultra配备1英寸可变光圈主摄,光圈覆盖f/1.8-f/3.0。通过光圈调节,可在不同场景下获得相对应的照片效果。比如在白天使用f/2.4光圈,可确保边缘的画质细节,而在夜晚等光线不足的条件下,则使用大光圈,提
小米13 Ultra正式官宣发布会时间:4月18日晚7点
【本站】4月12日消息,让无数数码爱好者期待已久的小米13 Ultra终于宣布发布会时间。据官方介绍,这款机型将会开启移动影像光学时代,是小米影像战略升级「第二章」和小米徕卡联手打造又一历史级作品,将采用划时代的技术,重构移动影像!小米13 Ultra将于4月1
小米获专利“手机”外观设计,柱状手机设计
【本站】4月12日消息,近日北京小米移动软件有限公司成功获授权的“手机”外观专利,展示了一款独特的设计概念。据该专利的描述,这款手机采用了柱状结构,在需要时可以将屏幕从中抽出,柱状结构中还包含弹出式摄像头。尽管该专利仅是一个“概念设计”,需要
爆料!小米13 Ultra渲染图曝光:圆形镜头+1TB超大存储
【本站】4月11日消息,小米即将发布的新一代旗舰手机——小米13 Ultra的高清渲染图已经被爆料大神Onleaks曝光。从渲染图中可以看到,小米13 Ultra的背部采用了硕大的圆形摄像头模组,其中包括四颗镜头和两颗闪光灯,右下角还有一颗潜望式多倍变焦镜头。值得一
小米13T Pro和Redmi K60 至尊版搭载天玑9200处理器,或将于7月发布
【本站】4月11日消息,国外科技媒体xiaomiui近日报道称,小米13T Pro(国内市场可能叫做Redmi K60 至尊版)已经出现在IMEI数据库中。根据数据库中显示的信息,小米13T Pro的型号为“23078PND5G”,而Redmi K60 至尊版的型号为“23078RKD5C”。据分析,型号开头
小米高端化战略成效显著,近期新品好评率高达99%
【本站】4月10日消息,小米集团创始人、董事长兼CEO雷军表示,过去三年小米最重要的战略就是高端化战略,最近三波新产品,用户的好评率都到了 99%、98%,这说明小米已经有能力做出大家满意的高端旗舰的产品。据了解,2020 年,小米曾提出高端化战略。2022 年
米家快煮电饭煲 4L 预售开启,定价299元,到手价仅269元!
【本站】4月10日消息,米家快煮电饭煲 4L 近日开启预售,定价 299 元。需要注意的是,查看相关商品页面发现,预售期间支付 10 元定金可抵 40 元,到手价 269 元。具体来看,米家快煮电饭煲 4L 内胆底部新增环形烈焰纹理,火焰状的凹槽增大内胆外侧的加热面积
小米商城升级手机寄修服务,新增进度可视功能
【本站】4月9日消息,小米宣布,小米商城寄修服务获得升级,新增了“寄修服务进度可视”功能。此次升级将为用户提供更加便捷、快速、透明的手机维修服务体验。据悉,用户可以直接在小米商城中选择寄修服务并申请,小米官方会安排工作人员上门取走需要维修的机
小米14揭秘:采用1mm窄边框OLED屏幕,超越iPhone15 Pro
【本站】4月9日消息,据数码博主爆料,小米将于11月份发布新机小米14,该机将采用TCL华星光电的1mm宽度边框的OLED屏幕,相比小米13和iPhone15 Pro,小米14的屏幕边框宽度会更窄,达到超越竞争对手的效果。去年,小米13的直屏设计和窄边框受到了广泛关注。而今
小米商城寄修服务升级啦,新增“寄修服务进度可视”功能
【本站】4月9日消息,小米商城寄修服务近日进行了升级,新增“寄修服务进度可视”功能。据小米服务官方微信公众号介绍,用户在手机出现故障时,只需通过小米商城寄修服务申请寄修,小米服务工作人员将上门取走需要维修的手机,维修完成后再寄回给用户。用户可
32位应用将淘汰,小米应用商店推进应用升级
【本站】4月8日消息,小米应用商店官方开发者在4月6日晚间发布了《关于小米应用商店上架应用完全适配64位的通知》。通知指出,从2023年5月8日起,小米应用商店将不再允许仅32位包上架/更新;从2023年7月1日起,小米应用商店将逐步清理在架未适配64bit的App。未
小米获折叠屏手机外观专利授权,设计要点在于形状
【本站】4月8日消息,北京小米移动软件有限公司申请的“手机”外观专利获得授权。根据国家知识产权局的查询结果,小米此次获得专利授权的产品名称为折叠屏“手机”,主要用于移动通信、拍照摄像、网络或多媒体应用等,设计要点在于形状。据悉,这款折叠屏手机
小米13 Ultra将用USB 3.X接口,有望提高有线传输速度!
【本站】4月7日消息,作为小米数字系列的最新顶配旗舰手机,小米 13 Ultra 将于本月发布,据博主 @数码闲聊站最新消息称,“小米 13 Ultra 已经开始量产”,并晒出了一张疑似产品包装的图片,该图显示小米 13 Ultra 将有12GB+256GB黑色版本。据之前的爆料,小
小米13 Ultra手机壳已上市,曝光外观设计
【本站】4月7日消息,小米13 Ultra手机的热度不断攀升,备受期待。近日,有消息称小米13 Ultra手机壳已经上市,价格从16.8元到50元不等,而手机壳的效果图也曝光了小米13 Ultra的外观。从曝光的图片来看,小米13 Ultra延续了上一代的环形镜头设计,机身背部采